TUBIND

Simulaciones Avanzadas de Cálculo de Cortes de Tubería

Boca de Pez
Boca de Pez
Simulación de corte en forma de boca de pez para conexiones de tubería
Elipse
Elipse
Cálculo de cortes elípticos para adaptaciones especiales
Espolón
Espolón
Simulación de cortes para espolones y conexiones angulares
Bifurcación Y
Bifurcación en Y
Cálculo de bifurcaciones en forma de Y para división de flujo
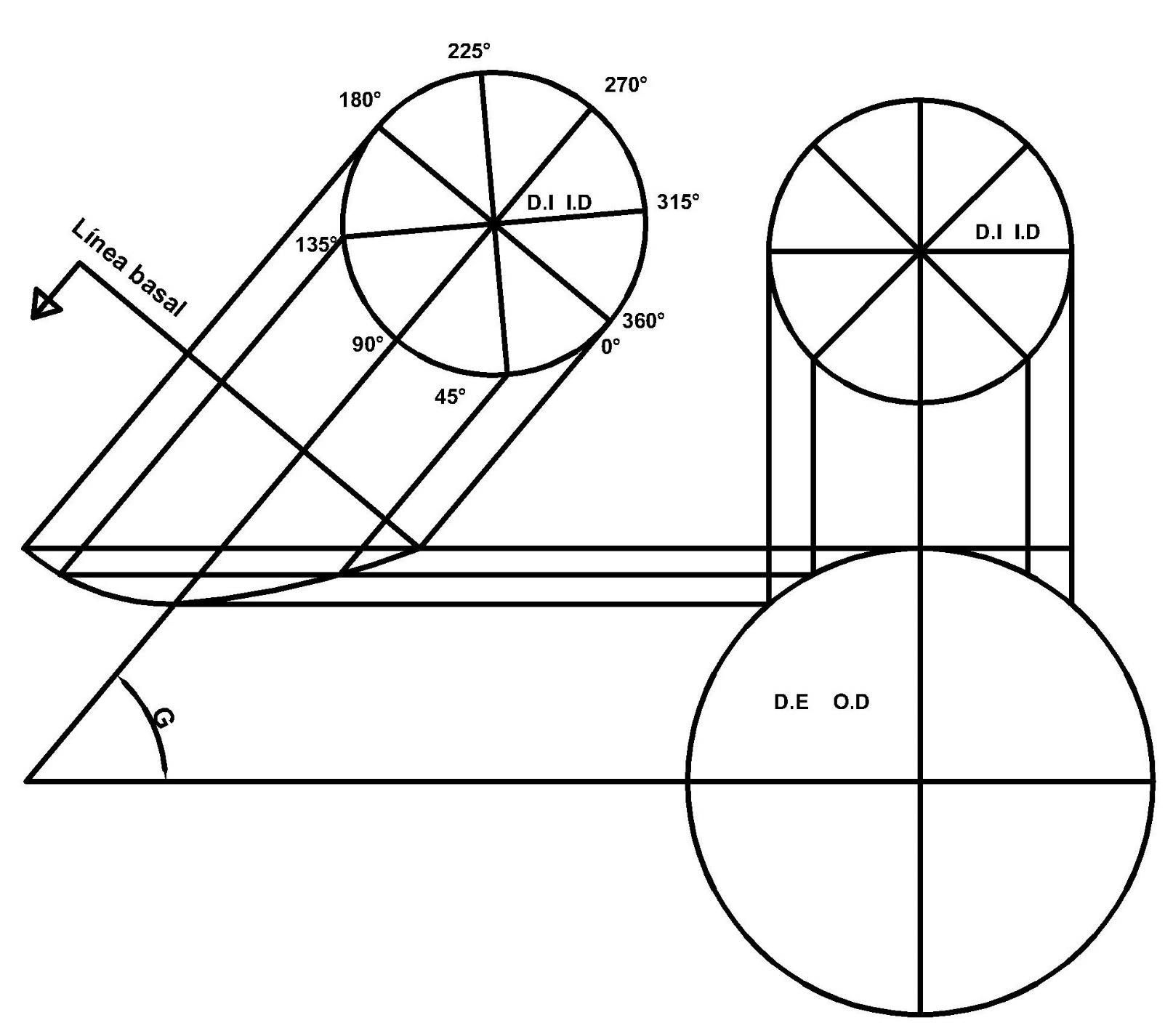
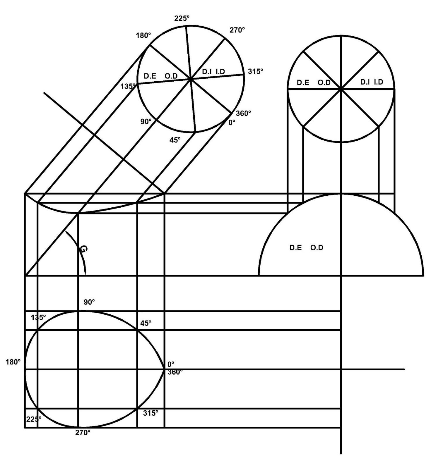
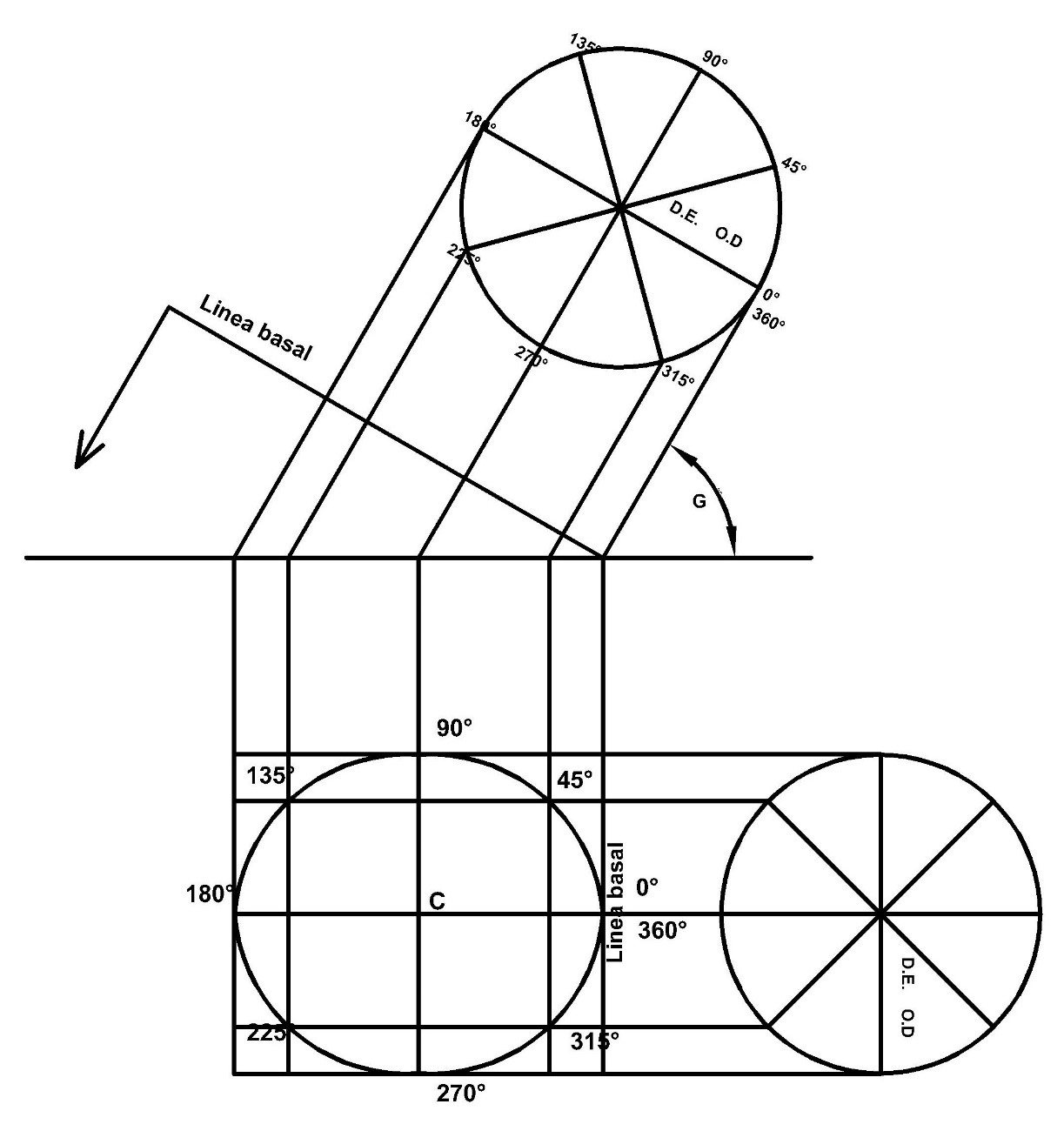
Inserto a Grados
Inserto a Grados
Cálculo de insertos con inclinación específica en grados
Fabricación de Codos
Fabricación de Codos
Simulación para fabricación de codos de tubería
Boquete 90°
Boquete a 90°
Cálculo de boquetes perpendiculares al cabezal
Almendra
Almendra
Boquete al cabezal para inserto a grados tipo almendra
Refuerzos
Simulación de refuerzos para tuberías - Próximamente
Bayonetas
Cálculo de bayonetas - Próximamente
Reducción Concéntrica
Simulación de reducciones concéntricas - Próximamente
Tee de Derivación
Cálculo de tees de derivación - Próximamente
Tienda Oficial
Tienda Oficial
Adquiere programas completos y libros especializados en tubería industrial